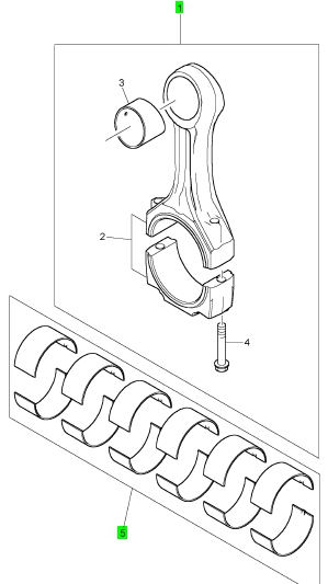
珀金斯perkins柴油機配件2206 CH12635連桿/KRP3023連桿瓦
項序 零配件號碼 最近的零配件號碼 描述
1 CH12635 6 CH12635 連桿組件
5 KRP3023 1 KRP3023 連桿瓦
(5) KRP3023/051 1 KRP3023/051 大頭 BRG 總成 -U/S
(5) KRP3023/076 1 KRP3023/076 大頭 BRG 總成 -U/S
Item Parts No. Qty. Latest Part No. Description Cut Out Cut In Comment
1 CH12635 6 CH12635 CON ROD ASSEMBLY
5 KRP3023 1 KRP3023 BIG END BEARING KIT
(5) KRP3023/051 1 KRP3023/051 BIG END BRG KIT - U/S
(5) KRP3023/076 1 KRP3023/076 BIG END BRG KIT - U/S

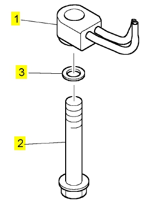
項序 零配件號碼 最近的零配件號碼 描述
1 CH12334 6 CH12334 活塞冷卻噴咀
2 CH10239 6 CH10239 螺拴
3 CH10255 6 CH10255 墊圈
Item Parts No. Qty. Latest Part No. Description Cut Out Cut In Comment
1 CH12334 6 CH12334 PISTON COOLING JET
2 CH10239 6 CH10239 BOLT
3 CH10255 6 CH10255 WASHER

包頭那賣Perkins配件,包頭那賣VOLVO發電機配件,包頭那賣威爾遜發電機配件,包頭那賣強鹿柴油機配件,包頭那賣勞斯萊斯發電機配件,包頭Perkins配件,包頭VOLVO發電機配件,包頭威爾遜發電機配件,包頭強鹿柴油機配件,烏魯木齊無錫Perkins配件,烏魯木齊Perkins配件,烏魯木齊VOLVO發電機配件,烏魯木齊威爾遜發電機配件,烏魯木齊強鹿柴油機配件,烏魯木齊勞斯萊斯發電機配件,烏魯木齊珀金斯配件,原裝進口的Perkins配件,原裝進口的珀金斯配件,原裝進口的VOLVO發電機配件,原裝進口的威爾遜發電機配件,原裝進口的強鹿柴油機配件,原裝進口的勞斯萊斯發電機配件,原裝進口的奧林匹亞發電機配件,