英國珀金斯柴油機不能啟動的幾種原因
珀金斯系列柴油機。該系列柴油機采用電控單體式噴油器(HEUI)實現燃油噴射以及噴油量的精確控制,可使用電子技師(ET)對柴油機進行故障診斷。本文珀金斯系列柴油機無法啟動的原因及排除方法進行分析。

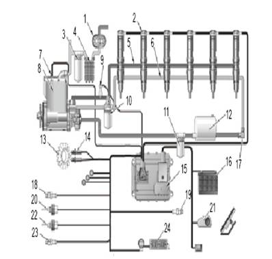
圖1柴油機的燃油供給系統
1.電控系統故障
(1)蓄電池
柴油機啟動時,若能聽到啟動機電磁閥的“嗒嗒”聲及啟動機齒輪與飛輪齒圈嚙合聲,但是柴油機不能達到啟動轉速,可判定是蓄電池電量不足。此時應檢查電源開關是否接觸不良,蓄電池接線柱與電纜有無松動或腐蝕現象,并用萬用電表檢測蓄電池的電壓是否在正常范圍內。
(2)啟動機
若轉動啟動開關, 啟動機不動作,而蓄電池及啟動電路正常,測量點火線圈、保持線圈的電阻也在正常范圍內,可判定是啟動機出現故障。此時,可用萬用電表檢測啟動機的轉子和定子線圈的電阻,從而確定啟動機的故障部位。
(3)電控系統
如果柴油機安裝了一個新的電控模塊(ECM),但沒有安裝ECM個性單元,該機也將無法啟動,同時這個電控模塊(ECM)將無法與電子技師(ET)連接。
其次檢查低壓油路是否暢通。可通過手油泵進行泵油測試,若拉出按鈕時感到無吸力,而按下按鈕時感到吃力,說明輸油泵與噴油器(HEUI)之間的油路發生堵塞,應檢查燃油濾清器是否堵塞。若拉出按鈕時明顯感到吃力,而松手后按鈕自動回位,說明油箱與輸油泵間的油路堵塞,應檢查油管是否堵塞。若上拉、下按按鈕時均無正常的泵油阻力,說明手油泵出現故障,應檢查輸油泵出油閥是否發卡或密封不良。

圖2 電控單體式噴油器
最后檢查低壓油路中是否混入空氣或水分。用手油泵泵油,如果從排氣螺塞孔有氣泡溢出,說明柴油中含有空氣,此時應檢查管路有無破損,管接頭是否松動。若無破損或松動,應分段進行放氣檢查。方法是:旋松輸油泵上的出油接頭,按手油泵,觀察排油的情況,若泡沫排不盡,說明輸油泵至油箱間的油管或油箱內的吸油管破裂或接頭松動;若泡沫能排盡,則應旋松柴油濾清器輸出接頭或排氣螺塞進行排氣試驗,檢查管路接頭是否漏氣。若短時間內從柴油中分離出較多水分,則說明柴油中含水量過多,應更換符合標準的柴油。
2. 珀金斯高壓油路
高壓油路的正常工作壓力范圍6~25MPa,若低于此壓力,柴油機將不能正常啟動。此時應檢查高壓油管是否發生破裂或接頭松動。若無泄漏,則應檢查機油濾清器是否發生堵塞。如果上述元件均工作正常,應按下列方法檢查:
首先檢查液壓電控單體式噴油器(HEUI),其結構如圖2所示。其工作原理是:利用加壓到6~25MPa的高壓機油為柱塞提供動力,高壓機油作用在噴油器內部的活塞上,活塞推動柱塞下行,從而使柱塞產生較高的噴油壓力,噴油器噴出的燃油達到最佳的霧化效果。檢查內容包括:噴油器電磁閥的電磁線圈接頭是否松動、接線是否磨損或斷裂;高壓油路是否存在泄漏。
其次,連接電子技師(ET),檢測是否有噴油驅動壓力故障代碼,若該故障代碼最近被記錄,說明噴油驅動壓力有問題。這時需要檢測噴油驅動壓力控制閥(IAP)的出口,若輸出壓力的最小值低于6MPa,則說明高壓機油油路存在故障。
3. 珀金斯進排氣系統故障
進、排氣系統造成柴油機不能啟動的原因包括:進、排氣管、空氣濾清器、中冷器發生堵塞,使汽缸充氣效率降低,導致啟動困難;汽缸墊損壞、活塞環磨損超限,導致汽缸密封不良,汽缸壓力過低,致使啟動困難。
4. 珀金斯正時齒輪故障
正時齒輪安裝錯誤同樣會導致發動機無法啟動。若柴油機正時齒輪組安裝錯誤,噴油正時也隨之發生錯誤,由于噴油時間不對,柴油機將不能啟動。如圖3所示,在安裝正時齒輪時,惰輪3上的正時標記A必須與曲軸齒輪4、凸輪軸齒輪1上的正時標記對正。

圖3 珀金斯柴油機正時齒輪機構
5.特殊環境的影響
(1)低溫高寒地區
柴油機在低溫高寒地區使用時,柴油的揮發性、燃燒性和低溫流動性降低,潤滑油和潤滑脂的黏度增大,蓄電池的工作性能降低,啟動功率增大,給啟動帶來困難。此時,可采取以下措施:采取防凍措施,對柴油機進行保溫,有條件時可加裝水套水加熱器;啟動前,對柴油機預熱溫缸,并使用乙醚輔助啟動;停機后應對蓄電池進行保溫,并適當提高交流發電機發電電壓;選擇適宜牌號的柴油。
(2)高原地區
高原地區大氣壓力和空氣密度低、氣溫變化大、氧氣稀薄,致使柴油機充氣效率降低,會導致柴油機啟動困難。
應采取以下措施:加強進氣系統的維護,盡量減少汽缸的進氣阻力,從而提高柴油機的充氣效率;選擇黏度較低的機油,以減小柴油機的啟動阻力。
總之,當柴油機出現不能啟動故障時,應堅持由簡到繁,由外及里的原則,及時、快速、準確地找到故障點并及時排除。應按技術要求合理使用柴油機,加強柴油機的日常維護保養工作。